光敏电阻和它的应用
光敏电阻在第四章讲过光敏电阻(图15-8),它的电阻位随光照的变化而变化.

实验照图15-9那样连接电路.接通开关,先观察光敏电阻被光照射时发光二极管的发光情况,再观察光敏电阻被不透明物体遮盖时,发光二极管的发光情况.

一般光敏电阻的电阻值,不受光照射时是受光照射时的100~1000倍.例如有一种型号的光敏电阻,光照时的阻值为2千欧,不受光照时的阻值为1000千欧.
光敏电阻的应用
图15-10是应用光敏电阻的基本电路、电路中的光敏电阻受到光照射时,电流相当强,用电器可以正常工作.而当光敏电阻不受光照射时,阻值增大,电流减弱,用电器停地工作。下面举两个具体例子。

1、光控大门装置
这里我们要用到一种电子元件——干簧继电器,它由干簧管和绕在干簧管外的线图组成(图15-11)。当线圈内有电流时,线圈产生的磁场使密封在干簧管内的两个铁质簧片磁化,两个簧片在磁力作用下由原来的分离状态变成团合状态,线圈内没有电流时,磁场消失,瓷片在弹力的作用下,回复到分离状态。
实验
照图15-12那样连接电路。先用光照射光敏电阻。再用这光物庶住光敏电阻,观察在什么情况下电动机转动。
把光敏电阻装在大门上汽车灯光能照到的地方,把带动大门的电动机接在干簧管的电路中,那么夜间汽车开到大门前,灯光照射光敏电阻时,干簧继电器接通电动机电路,电动机带动大门打开(图15-13)。


2、天明报知装置
这里我们要用到另一种电子元件——蜂鸣器(图15-14)。蜂鸣器内装有发声电路,外边有两极引线,一根负极,一根正极。使用时正极接电池正极,负极接电池负极。当有电流通过时,能发出悦耳的蜂鸣声。

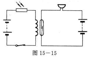
实验把图15-12中的电动机换成蜂鸣器,连成图15-15所示的电路。使光敏电阻先受光照射,再不受光照射,观察蜂鸣器在什么情况下发声。

如果把这个装置装在卧室内,早晨天明时,蜂鸣器就会自动发声唤醒我们。
相关内容:
请介绍你的同学、朋友、弟弟、妹妹等来五一电子网站,每介绍一位会员成功注册可以双方同时获得积分100。本站永久域名:http://www.51dz.com,我要电子之意!
相关广告:
约好你的同学、朋友、弟弟、妹妹来,每天只学一点点,每天只记一点点,有不懂的问题,请到论坛发贴,请给我们来信!只要你去做,你一定能成功!电子技术是最需要的、最基础的、最好学的一门技术!